Jeep Wrangler Gear Shift Not Working . in today's quick tutorial i show you how to fix a jeep wont go into gear also. the jeep wrangler transmission issues contain a spectrum of concerns, spanning late shifts, faulty. there could be various reasons for the jeep wrangler’s gear shifting issues, such as misaligned throttle position. our videographer briann had problems with her 2010 wrangler not shifting. one of the most common jeep wrangler transmission shifting problems is delayed gear shifting or gear slipping.
from workshopfixregulettou6.z22.web.core.windows.net
there could be various reasons for the jeep wrangler’s gear shifting issues, such as misaligned throttle position. the jeep wrangler transmission issues contain a spectrum of concerns, spanning late shifts, faulty. in today's quick tutorial i show you how to fix a jeep wont go into gear also. our videographer briann had problems with her 2010 wrangler not shifting. one of the most common jeep wrangler transmission shifting problems is delayed gear shifting or gear slipping.
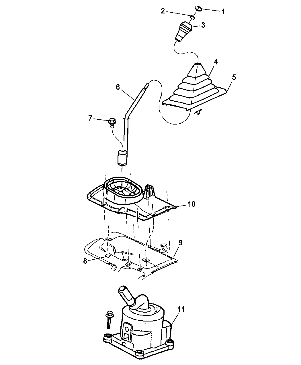
Jeep Wrangler Shifter Parts
Jeep Wrangler Gear Shift Not Working one of the most common jeep wrangler transmission shifting problems is delayed gear shifting or gear slipping. there could be various reasons for the jeep wrangler’s gear shifting issues, such as misaligned throttle position. one of the most common jeep wrangler transmission shifting problems is delayed gear shifting or gear slipping. the jeep wrangler transmission issues contain a spectrum of concerns, spanning late shifts, faulty. our videographer briann had problems with her 2010 wrangler not shifting. in today's quick tutorial i show you how to fix a jeep wont go into gear also.
From www.wranglerforum.com
Manual Gear Shift Removal Jeep Wrangler Forum Jeep Wrangler Gear Shift Not Working there could be various reasons for the jeep wrangler’s gear shifting issues, such as misaligned throttle position. in today's quick tutorial i show you how to fix a jeep wont go into gear also. our videographer briann had problems with her 2010 wrangler not shifting. one of the most common jeep wrangler transmission shifting problems is. Jeep Wrangler Gear Shift Not Working.
From workshopfixamir123.z19.web.core.windows.net
Jeep Wrangler Tj Automatic Shifter Jeep Wrangler Gear Shift Not Working our videographer briann had problems with her 2010 wrangler not shifting. the jeep wrangler transmission issues contain a spectrum of concerns, spanning late shifts, faulty. one of the most common jeep wrangler transmission shifting problems is delayed gear shifting or gear slipping. there could be various reasons for the jeep wrangler’s gear shifting issues, such as. Jeep Wrangler Gear Shift Not Working.
From www.moparpartsgiant.com
2006 Jeep Wrangler Gear Shift Controls Mopar Parts Giant Jeep Wrangler Gear Shift Not Working our videographer briann had problems with her 2010 wrangler not shifting. one of the most common jeep wrangler transmission shifting problems is delayed gear shifting or gear slipping. there could be various reasons for the jeep wrangler’s gear shifting issues, such as misaligned throttle position. the jeep wrangler transmission issues contain a spectrum of concerns, spanning. Jeep Wrangler Gear Shift Not Working.
From www.wranglerforum.com
shift linkage issue Jeep Wrangler Forum Jeep Wrangler Gear Shift Not Working one of the most common jeep wrangler transmission shifting problems is delayed gear shifting or gear slipping. in today's quick tutorial i show you how to fix a jeep wont go into gear also. our videographer briann had problems with her 2010 wrangler not shifting. there could be various reasons for the jeep wrangler’s gear shifting. Jeep Wrangler Gear Shift Not Working.
From repairenginefernando123.z4.web.core.windows.net
Jeep Wrangler 4 Wheel Drive Shifter Jeep Wrangler Gear Shift Not Working in today's quick tutorial i show you how to fix a jeep wont go into gear also. the jeep wrangler transmission issues contain a spectrum of concerns, spanning late shifts, faulty. there could be various reasons for the jeep wrangler’s gear shifting issues, such as misaligned throttle position. our videographer briann had problems with her 2010. Jeep Wrangler Gear Shift Not Working.
From www.youtube.com
Jeep Wrangler TJ Shift Knob Removal YouTube Jeep Wrangler Gear Shift Not Working the jeep wrangler transmission issues contain a spectrum of concerns, spanning late shifts, faulty. our videographer briann had problems with her 2010 wrangler not shifting. one of the most common jeep wrangler transmission shifting problems is delayed gear shifting or gear slipping. in today's quick tutorial i show you how to fix a jeep wont go. Jeep Wrangler Gear Shift Not Working.
From www.justanswer.com
Jeep Wrangler Automatic Shifter Q&A on Gear Shift Interlock, Assembly Jeep Wrangler Gear Shift Not Working in today's quick tutorial i show you how to fix a jeep wont go into gear also. there could be various reasons for the jeep wrangler’s gear shifting issues, such as misaligned throttle position. the jeep wrangler transmission issues contain a spectrum of concerns, spanning late shifts, faulty. our videographer briann had problems with her 2010. Jeep Wrangler Gear Shift Not Working.
From fourwheeltrends.com
Jeep NOt Shifting Gears? Here’s What to Do Four Wheel Trends Jeep Wrangler Gear Shift Not Working the jeep wrangler transmission issues contain a spectrum of concerns, spanning late shifts, faulty. there could be various reasons for the jeep wrangler’s gear shifting issues, such as misaligned throttle position. one of the most common jeep wrangler transmission shifting problems is delayed gear shifting or gear slipping. in today's quick tutorial i show you how. Jeep Wrangler Gear Shift Not Working.
From www.youtube.com
Jeep Wrangler JK Transfer Case Shift Cable Review & Install YouTube Jeep Wrangler Gear Shift Not Working our videographer briann had problems with her 2010 wrangler not shifting. there could be various reasons for the jeep wrangler’s gear shifting issues, such as misaligned throttle position. one of the most common jeep wrangler transmission shifting problems is delayed gear shifting or gear slipping. in today's quick tutorial i show you how to fix a. Jeep Wrangler Gear Shift Not Working.
From repairenginefernando123.z4.web.core.windows.net
Jeep Wrangler 4wd Shifter Loose Jeep Wrangler Gear Shift Not Working the jeep wrangler transmission issues contain a spectrum of concerns, spanning late shifts, faulty. one of the most common jeep wrangler transmission shifting problems is delayed gear shifting or gear slipping. in today's quick tutorial i show you how to fix a jeep wont go into gear also. our videographer briann had problems with her 2010. Jeep Wrangler Gear Shift Not Working.
From enginephagocytes.z13.web.core.windows.net
Jeep Wrangler Shifting To Four Wheel Drive Jeep Wrangler Gear Shift Not Working there could be various reasons for the jeep wrangler’s gear shifting issues, such as misaligned throttle position. our videographer briann had problems with her 2010 wrangler not shifting. in today's quick tutorial i show you how to fix a jeep wont go into gear also. the jeep wrangler transmission issues contain a spectrum of concerns, spanning. Jeep Wrangler Gear Shift Not Working.
From garagefixsilicles.z21.web.core.windows.net
Jeep Gear Shift Problems Jeep Wrangler Gear Shift Not Working the jeep wrangler transmission issues contain a spectrum of concerns, spanning late shifts, faulty. there could be various reasons for the jeep wrangler’s gear shifting issues, such as misaligned throttle position. one of the most common jeep wrangler transmission shifting problems is delayed gear shifting or gear slipping. in today's quick tutorial i show you how. Jeep Wrangler Gear Shift Not Working.
From www.alamy.com
2007 Jeep Wrangler Unlimited Sahara in Red Gear shifter/center Jeep Wrangler Gear Shift Not Working there could be various reasons for the jeep wrangler’s gear shifting issues, such as misaligned throttle position. the jeep wrangler transmission issues contain a spectrum of concerns, spanning late shifts, faulty. one of the most common jeep wrangler transmission shifting problems is delayed gear shifting or gear slipping. in today's quick tutorial i show you how. Jeep Wrangler Gear Shift Not Working.
From www.greencarreports.com
Image 2017 Jeep Wrangler Unlimited Sahara 4x4 Gear Shift, size 1024 x Jeep Wrangler Gear Shift Not Working in today's quick tutorial i show you how to fix a jeep wont go into gear also. the jeep wrangler transmission issues contain a spectrum of concerns, spanning late shifts, faulty. one of the most common jeep wrangler transmission shifting problems is delayed gear shifting or gear slipping. there could be various reasons for the jeep. Jeep Wrangler Gear Shift Not Working.
From www.youtube.com
Jeep AX5/AX15 Shifter Handle Removal While Still in Your Rig !!! YouTube Jeep Wrangler Gear Shift Not Working the jeep wrangler transmission issues contain a spectrum of concerns, spanning late shifts, faulty. one of the most common jeep wrangler transmission shifting problems is delayed gear shifting or gear slipping. our videographer briann had problems with her 2010 wrangler not shifting. there could be various reasons for the jeep wrangler’s gear shifting issues, such as. Jeep Wrangler Gear Shift Not Working.
From www.youtube.com
2013 Jeep Wrangler Automatic Bump Shift Operation Explained YouTube Jeep Wrangler Gear Shift Not Working our videographer briann had problems with her 2010 wrangler not shifting. one of the most common jeep wrangler transmission shifting problems is delayed gear shifting or gear slipping. in today's quick tutorial i show you how to fix a jeep wont go into gear also. there could be various reasons for the jeep wrangler’s gear shifting. Jeep Wrangler Gear Shift Not Working.
From www.youtube.com
Jeep Wrangler TJ automatic shifter linkage fix YouTube Jeep Wrangler Gear Shift Not Working in today's quick tutorial i show you how to fix a jeep wont go into gear also. one of the most common jeep wrangler transmission shifting problems is delayed gear shifting or gear slipping. there could be various reasons for the jeep wrangler’s gear shifting issues, such as misaligned throttle position. the jeep wrangler transmission issues. Jeep Wrangler Gear Shift Not Working.
From www.youtube.com
How To Quickly Remove Shift Knobs From Jeep JK Wrangler With Manual Jeep Wrangler Gear Shift Not Working there could be various reasons for the jeep wrangler’s gear shifting issues, such as misaligned throttle position. one of the most common jeep wrangler transmission shifting problems is delayed gear shifting or gear slipping. the jeep wrangler transmission issues contain a spectrum of concerns, spanning late shifts, faulty. in today's quick tutorial i show you how. Jeep Wrangler Gear Shift Not Working.